Beiträge von keiner99

    So habe nun den Gong auf einen andren, (laut Kompatibilitätsliste) kompatiblen, Gong gewechselt (Heidemann 70148).


    Die Verkabelung schaut wie folgt aus (zusätzlich dazu wurde das Gongmodul parallel zu 2 und 3 gehängt und der Taster in der Verkabelung entspricht der Doorbell).


    Nachdem ich die Doorbell resettet und den Strom eingeschalten habe blinkt die Status LED nun violett. Das Gongmodul war auf 1-low gestellt und laut Anleitung soill man diese auf 2-low stellen, wenn die LED violett aufglüht. Deshalb habe ich es einmal auf 2-LOW gestellt, aber die LED blinkt weiter violett...


    Was kann das Problem sein?


    LG


    EDIT: Jetzt funktionierts! Die Problemlösung war einmal anzuleuten, wie es violett geblinkt hat :S^^ danach wechselte es auf grün und ich konnte es ganz normal in Home integrieren. Zurzeit funktionierts mal - mal schauen wie lange^^ Habe leider zurzeit nur 2/4 WLan Striche bei der Kamera. Führt das noch immer ab und zu zu Verbindungsabbrüchen, oder wurde dies vll mittlerweile mittels Firmware Updates (habe 2.18.0 installiert) behoben?`Ich werde es mal beobachten und gegebenfalls einen WLan Repeater dazwischenhängen... :)

    Hi,

    habe mir nun auch eine Netatmo Doorbell zugelegt und habe leider ebenfalls Probleme bei der Erstinbetriebnahme. Aber alles der Reihe nach:

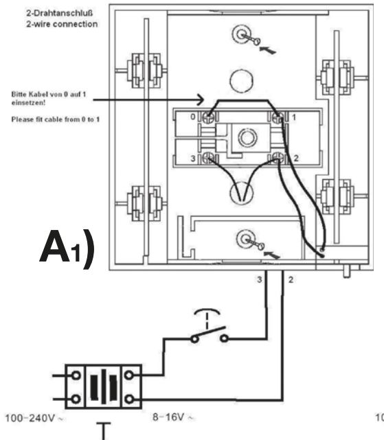
    Ich verwende einen Hager ST305 Klingeltrafo 230V/8+12V 16VA 3PLE... sollte 16VA liefern und damit leicht ausreichend sein. Als Gong verwende ich einen uralten Gong mit nur zwei Anschlüssen, wo ich die Glocke entfernt habe, damit nur die Homepds klingeln. Den Gong habe ich dann in Serie zwischen Doorbell und Trafo geschalten und das Gong Modul parallel zum Gong:


    (das rote und gelbe Kabel kommt von der Doorbell. Das rote Kabel geht direkt zum Trafo und das gelbe über den Gong ebenfalls zum Trafo. Die beiden schwarzen Kabeln gehen zum Gongmodul (war standardmäßig auf 1-low eingestellt)


    Nun habe ich den Strom aufgedreht und die Doorbell blinkte grün und wechselte danach auf blau. Laut Anleitung sollte ich nun die Switchs am Gong Modul auf 1-High stellen. Gesagt getan und anschließend die Klingel betätigt. Die Led leuchtet nun rot und kurze Zeit später ist die Sicherung durchgebrannt. Wechselte daraufhin die Sicherung und versuchte es erneut --> selbes Resultat. Was mache ich falsch? was kann ich ändern, damit die Sicherung länger wie ein paar Minuten hält? :/:P


    LG

    Hi,

    ich habe nun in meiner Wohnung mehrere Homepod minis. Nun habe ich versucht, diese in Automationen einzubauen. Zurzeit schaltet sich ein Homepod ein, sobald der Lichtschalter im Raum eingeschalten wird (hier hängt ein Shelly 2.5, der auf Channel 1 das Licht schaltet und auf Channel 2 einen Lüfter.). Der Shelly wurde mittels HomeAssistant in Homekit eingebunden, was soweit einwandfrei funktioniert.


    Nun habe ich als ersten Schritt zwei Automationen in Homekit hinzugefügt, der einen Radiosender am Homepod startet, sobald der Lichtschalter betätigt wird und eine Automation fürs ausschalten. Soweit funktioniert alles. Nun stellt sich mir die Frage, ob es auch möglich ist, dass nichts passiert, wenn bereits irgendeine Musik am Homepod läuft und nur wenn keine Musik läuft der Radiosender gestartet wird?


    Danke euch!


    LG
    Franz

    Hi,

    danke für eure raschen Rückmeldungen - habe es nun wieder zum laufen gebracht :thumbup:


    jedoch habe ich nun noch dass Problem, dass die alle Xiaomi door sensoren in Phoscon hinzugefügt habe, das homebridge hue plugin installiert und folgendermaßen konfiguriert habe:


    Leider werden die Sensoren nicht in homekit angezeigt - ich kann mich da noch ganz leicht daran erinnern, dass man hierfür irgendeine Zeile in die config hinzufügen musste... vll könnt ihr mir ja hierbei nochmal weiterhelfen :/:thumbup:

    Hi,

    nachdem meine sd karte den Geist aufgegeben hat und ich natürlich kein backup gemacht habe :cursing: bin ich gerade dabei die Homebridge mit allen plugins neu zu installieren. Hierfür habe ich das 'fertige' homebridge raspbi image genommen und soweit funktioniert es auch - ich kann mich über den browser auf die homebridge verbinden.


    das image hat homebridge 1.3.4 mit Node.js v14.16.1 und Npm v7.11.1 installiert.


    Habe auch den GUI am raspbi und remote Desktop mittels folgenden Befehlen hinzugefügt:

    Code
    sudo apt update && sudo apt upgrade -y
    sudo apt-get install --no-install-recommends xserver-xorg
    sudo apt-get install --no-install-recommends xinit
    sudo apt-get install raspberrypi-ui-mods
    sudo raspi-config  --> B4: Desktop Autologin Desktio GUI, automatically logged in as ‘pi’ user
    
    sudo apt-get update
    sudo apt-get install xrdp

    Als nächstes wollte ich deconz installieren. Hierfür die Anleitung von der deconz homepage genommen: https://phoscon.de/de/conbee2/install#raspbian


    nach den installationsschritten versuche ich mich mit ip.vom.deconz.gateway/pwa/login.html auf Phoscon zu verbinden, jedoch öffnet sich hierbei immer nur die homebridge. Was mache ich hierbei falsch?


    Wenn ich mich über den Remotedesktop auf den Raspberry verbinde und dann Deconz am Desktop öffnen probiere passiert auch nix -.-


    Danke für eure Hilfe!


    BR

    Franz

    So gibt ein Update zu diesem Thema: Der Hersteller hat mittlerweile eine API veröffentlicht. Anbei die Mail:


    Vielleicht findet sich ja doch noch jemand, der heirfür ein homebridge plugin entwickeln würde :)


    LG

    ja, mittels putty(oder ähnlichem) sich auf den raspi verbinden, dann mittels cd in den ordner wechseln, wo das homeconnect plugin installiert ist und dann mittels sudo rm dateinamen die persist datei löschen (davor die homebridge ausschalten)


    LG

    Um aus klassischen Lichtschaltern bzw. Tastern smarte Lichtschalter zu machen empfehle ich dir die Shelly i3 mit Homekit Software --> Kannst du bis zu 3 Schalter auf einem Shelly hängen und mit der Homekit Software auch direkt ohne Bridge in Homekit integrieren (oder du verwendet die originale Firmware inkl. Homebridge). Habe damit bislang keine Probleme und läuft einwandfrei (Y)

    Hast du schon mehr hierzu rausgefunden ? :) würde auch gern die Roborock App betreiben...

    Hi,

    hatte viel zu tun die letzten Tage, habe aber mittlerweile herausgefunden, dass die Roborock App mit der Tuya Cloud arbeitet und hierfür das Tuya protocol verwendet wird --> MiHome App verwendet ein anderes protocol.


    https://codetheweb.github.io/tuyapi/


    Das heißt, dass auch wenn man den Roborock token ausliest, dieser mit dem derzeitigen Roborock plugin nicht funktioniert. Habe heute ein Issue auf Github aufgemacht und mal nachgefragt, ob die Entwickler vielleicht das Tuya protocol auch ins plugin integrieren könnten. Mal schauen, was Sie antworten.


    LG

    ich weiß, wie man den token mit der mi app auslesen kann - dies funktioniert bei mir auch seit einigen wochen. jedoch würde ich gerne die roborock app verwenden, die die tuya cloud verwendet und dadurch der token anders ausgelesen werden muss… und hierfür gab es bislang keine lösung… der von mir gepostete link im vorherigen post könnte uns dabei jedoch weiterhelfen - werde es mir die nächsten tage sobald ich mal mehr zeit habe genauer anschauen :)

    Hi,

    habe heute versucht 2 Taster mithilfe von einem Shelly i3 smart zu machen und damit Hue Lampen zu steuern.

    Hierfür habe ich alles folgendermaßen verkabelt (siehe Anhang). Sollte also soweit passen. Danach mittels der iOS Shelly App hinzugefügt. Das hat soweit auch funktioniert - ich sehe den i3 in der Shelly App. Danach habe ich überprüft, ob als Typ Momentary ausgewählt ist (war es bereits Standartmäßig). Firmware Version 1.9.0 ist am i3.

    Wenn ich jetzt einen Taster betätige dann sehe ich in der Shelly App immer nur Off als Status ( zumindest wird das EIn Symbol nie blau umrandet, wie es bei den Shelly 1 z.b. passiert. Wenn ich jedoch direkt auf die IP Adresse vom Shelly i3 schaue, dann ändert sich der Status schon - jedoch um ein paar Sekunden Zeitversetzt.


    Habe dann als Test folgendes gemacht, um ein Netzwerk Problem auszuschließen:


    Damit bekomme ich folgenden Output:


    Wie man erkennen kann scheint der Shelly auf jeden Befehl zu reagieren (und auch nicht zeitversetzt!). Nun dachte ich an einen Anzeige Bug in der Shelly App und versuchte den Shelly i3 zum bereits eingebundenen Shelly 1 in meine homebridge zu integrieren. Hiefür wir folgendes Shelly Plugin verwendet.


    Anbei der Ausschnitt aus der homebridge config:


    Und im HB log steht folgendes:

    Scheint soweit ja alles zu passen. Ich sehe auch die 3 Buttons vom i3 in der Homebridge. Jedoch ändert sich der Status dieser Buttons ebenfalls nicht in der Homebridge (ob das auch derselbe Grund ist, wiesos in der Shelly App nicht richtig angezeigt wird?:/)

    Hat jemand auch so ein Problem mit dem i3, bzw. jemand Tipps?


    LG


    EDIT: Habe gerade im Shelly Forum gelesen, dass es normal ist, dass der Status in der Shelly App mit dem i3 nicht angezeigt wird. Vielleicht ist dies beim homebridge plugin auch der Fall? Kann leider noch nicht testen, ob der Taster prinzipiell meine Hue schaltet, da mein homepod mini als Steuerzentrale leider noch nicht angekommen ist und ich sonst ja keine Automationen hinzufügen kann. Die Hinzufügen Buttons (siehe Anhang) gibts bei mir zurzeit nicht. Schätze, dass dies mit der fehlenden Steuerzentrale zusammenhängt?

    Hi,

    habe den Aeotec Z-wave USB Stick bislang mittels Domoticz in die Homebridge eingebunden, was jedoch nicht zuverlässig funktioniert. Ändere ich z.B. die Temperatur eines Heizungsthermostats in der Home App kommt die Änderung nicht am Heizungsthermostat an. In die andere Richtung funktioniert alles einwandfrei.


    Nun wollte ich versuchsweise einmal open-z-wave installieren und mittels homebridge-openzwave einbinden. Dazu bin ich jetzt mal folgendermaßen vorgegangen:


    1.) open z-wave installieren:

    Code
    wget http://old.openzwave.com/downloads/openzwave-1.6.1392.tar.gz
    tar zxvf openzwave-1.6.1392.tar.gz
    cd openzwave-1.6.1392 && make && sudo make install
    sudo sed -i '$a LD_LIBRARY_PATH=/usr/local/lib' /etc/environment
    sudo ldconfig

    (diese Schritte hab ich von https://github.com/OpenZWave/node-openzwave-shared/blob/master/README-raspbian.md )


    2.)homebridge-openzwave übers Config-ui installiert und folgendes in die config geschrieben:

       {
                "platform": "openzwave",
                "name": "OpenZWave",
                "zwave": {
                    "devicePath": "/dev/serial/by-id/usb-0658_0200-if00"
                }
            },

    3.) Homebridge neu gestartet und im Log file folgendes gefunden:


    Hab ich noch was vergessen? Wie behebe ich das Problem? Bzw. wie binde ich jetzt die Thermostate in openzwave ein?

    Vielleicht hat damit ja jemand Erfahrung :)


    LG